Cette dernière partie de la norme NF EN 1011-2 traite du risque d’arrachement lamellaire. Il fait suite au cours sur la partie fissuration pendant la solidification présentée dans la norme NF EN 1011-2. Un ancien article sur la fissuration à chaud avait déjà été présenté. Les cours précédents traitaient de la norme NF EN 1011-2 au niveau de la fissuration à froid, temps de refroidissement et un autre sur les températures de préchauffage.
Généralités
On peut constater le défaut d’arrachement lamellaire dans certaines situations. Ce défaut se produit dans la tôle et non dans la soudure. Avec certains matériaux très sensibles, il est possible que la fissuration apparaisse même avec des déformations faibles. Deux paramètres accroissent ce risque:
- sensibilité de la tôle
- déformations dans l'assemblage
On constate le plus souvent l’arrachement lamellaire pendant le soudage et non pendant l’utilisation de la pièce. Dans ce cas, ce sont les chocs répétés et les charges périodiques qui provoquent l’arrachement lamellaire pendant le service de la pièce. Il est plus élevé si les retraits se font dans le sens travers court:
Sensibilité des tôles
La sensibilité des tôles est déterminée par la quantité et la distribution des inclusions. On ne peut actuellement pas détecter les inclusions sans méthode non destructive. On peut évaluer un essai de traction dans le travers court pour évaluer la sensibilité à l’arrachement lamellaire et la striction dans le travers court a été mise en corrélation avec l’apparition de l’arrachement lamellaire. Le schéma suivant montre les possibilité d’arrachement lamellaire en fonction de la striction
Dans le cas d’aciers à faible teneur en oxygène (nuances traitées à l’aluminium ou dégazées sous vide), la teneur en soufre s’est révélée être un indice utile de la teneur en inclusions et donc de la striction dans le travers court. Le schéma suivant présente les valeurs les plus basses et les plus élevées de striction dans le travers court prévisibles pour des aciers traités à l’aluminium ayant une teneur en soufre donnée. Les données concernent des tôles allant de 12,5 mm à 50 mm d’épaisseur. La relation entre la striction dans le travers court (%) et la teneur en soufre (%) dépend en partie de l’épaisseur aussi.
Les aciers donnant des valeurs de striction supérieurs à 20% sont considérées comme résistant à l’arrachement lamellaire. Il éxiste d’ailleurs des aciers à striction dans le travers court garantis. Ce sont généralement des aciers traités à l’aluminium, à basse teneur en soufre, mais également des aciers composés additionnellement de terres rares ou composés de calcium dont la fonction est de réduire la teneur en inclusions.
Fabrication, conception de l'assemblage
La déformation dans le travers court accroit le risque d’arrachement lamellaire. Un bridage non pertinent peut accentuer ce défaut. La déformation angulaire peut augmenter le risque. On peut réfléchir à utiliser des configurations d’assemblage qui limitent le défaut.
a)
Idées à appliquer pour limiter l'arrachement lamellaire
- Pour une résistance de soudure donnée, il convient de concevoir les assemblage de sorte que la surface soudée soit plus grande
- Il convient de minimiser les contraintes de retrait en réduisant le volume de métal fondu, en soudant avec le moins de passes possible, en recourant au beurrage et en équilibrant a séquence des passes sur les soudures symétriques.
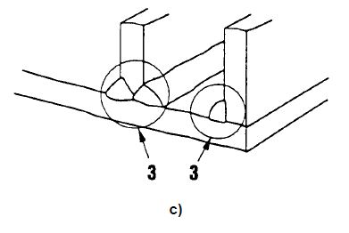
Exemple de sensibilités à l'arrachement lamellaire
- Il convient de réaliser la soudure de telle sorte que la plus grande partie possible du travers court de la tôle laminée soit en contact avec le métal fondu.
Sensible:
Sensible:
Sensible:
Non sensible:
Non sensible:
- Il faut limiter le bridage dans le sens travers court.
- On peut exécuter un beurrage avec un matériau moins résistant
Produits Rocdacier
Quelques produits sont en vente sur le site : livres, posters, vêtements ignifugés, stickers…

